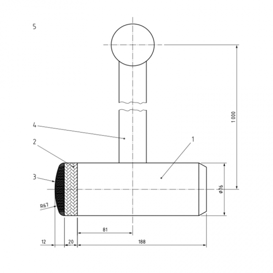
Impact hammer, with a cylindrical pendulum head having a mass of 6,5 kg, supported from a pivot by a steel tube of 38 mm in diameter and with a wall thickness of 2 mm.
Brand:
GESTERItem NO.:
GT-LB01-7Order(MOQ):
1Payment:
T/T ,L/CLead Time:
20-30 daysProduct Detail
Impact Hammer GT-LB01-7
Application: Impact hammer, with a cylindrical pendulum head having a mass of 6,5 kg, supported from a pivot by a steel tube of 38 mm in diameter and with a wall thickness of 2 mm.
Standards: EN 1728-2012, EN581-2-2015, BS5459-2-2000, GB10357-3 -2013, ISO7173-1989 |

All kinds of seats with pedal of chair can be tested on the Impact Hammer